各種溫度儀表安裝的注意點
溫度儀表的安裝位置應選在被測介質溫度變化靈敏和具有代表性的地方,不宜選在閥門等阻力部件的附件和介質流束呈死角處以及振動較大的地方。
1.熱電偶溫度計的安裝位置,應遠離強磁場。
2.溫度儀表(如:熱電偶溫度計、熱電阻溫度計、雙金屬溫度計、壓力式溫度計等)應安裝在能準確反映介質溫度的位置。
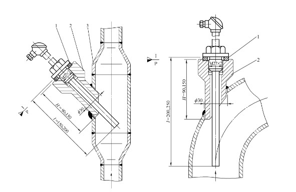
3.安裝在工藝官道上的測溫元件應與管道中心線垂直或傾斜45°,插入深度應大于250mm或處在管道中心,插入方向宜與被測介質逆向或垂直。管道公稱直徑小于80mm時可安裝在彎頭處或加擴大管。
4.雙金屬溫度計安裝時,刻度盤面應便于觀察,直型水銀溫度計不應水平安裝。
5.表面溫度計的感溫面應與被測表面緊密接觸,固定牢固。
6.壓力式溫度計安裝時,應使溫包全部浸入被測介質中,毛細管應敷設在角鋼或管槽內,并防止機械拉傷。毛細管固定時不應敲打,彎曲半徑不應小于50mm。周圍環境應無機械振動,且溫度變化不應過大,如不可避免時應采取隔熱措施。
7.安裝在含固定顆粒介質中的溫度儀表,應采取防磨損的保護措施。
8.溫度儀表的接頭螺紋應與管道螺紋相匹配。
9.當溫度儀表水平安裝且插入深度較長或安裝在高溫設備中時,應有防彎曲措施。
森垚儀表最新產品
森垚儀表同類文章排行
- 壓力表是如何測量的?
- 食品溫度計介紹
- 實用雙金屬溫度計推薦
- 雙金屬溫度計在安裝時需要注意哪些地方?
- 充油壓力表內部的油發白是怎么回事?
- 溫濕度計的使用注意事項
- 關于食品溫度計的知識
- ET400-2壓力式溫度計介紹
- 雙金屬溫度計能不能微調?
- 充油表漏油的原因是什么?
森垚儀表最新資訊文章
您的瀏覽歷史







